欢迎来到河北好博官方网站索具集团官网!
服务热线:0312-8156666

您当前所在的位置:主页 > 产品中心 起重吊钳系列
LIFTING CLAMP SERIES
起重吊钳系列

模锻翻转吊钳DMF型

模锻翻转吊钳DMF型

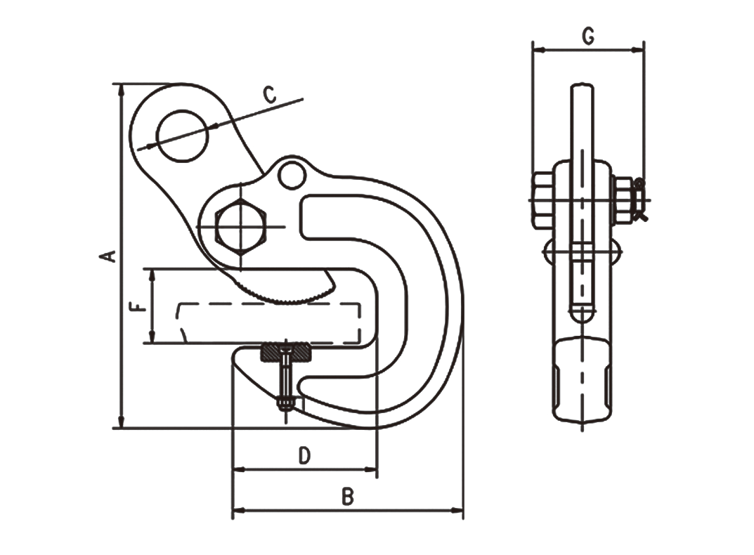
1、DMF型模锻吊钳是吊装钢结构件的专用工具,本产品具有结构简单、使用方便、安全可靠等特点。 2、本产品采用低碳高合金优势钢材锻造而成,并经过科学热处理得到较高的综合强度

全国咨询热线:400-0312-400

更多联系方式
-产品详情- -产品参数-
1、DMF型模锻吊钳是吊装钢结构件的专用工具,本产品具有结构简单、使用方便、安全可靠等特点。
2、本产品采用低碳高合金优势钢材锻造而成,并经过科学热处理得到较高的综合强度和耐用度,使DMF型模锻吊钳体积小,经久耐用。
3、压角中纵线与压口底平面夹角随夹持物厚度的不同在30度到80度内变化,随吊重增加夹紧力也成比例增加。

产品参数

相关产品

创造客户价值 助力客户成功

<好博官方网站>凭借着高新的技术、优异的品质及良好的服务赢得了客户点赞,在国内外众多企业大放异彩!

冀ICP备08100751号-1/冀公网安备 13060802000198号